40 hp evinrude parts diagram

Evinrude Fuel Pump And Filter Parts for 1979 55hp 55975C Outboard Motor. 8 Pictures about Evinrude Fuel Pump And Filter Parts for 1979 55hp 55975C Outboard Motor : 1948 3.3HP Evinrude Parts Diagram – Antique Outboard Motor Club,Inc, Johnson Water Pump Parts for 2002 40hp J40PL4SNF Outboard Motor and also Johnson Motor Cover Parts for 1976 6hp 6R76A Outboard Motor.

Evinrude Fuel Pump And Filter Parts For 1979 55hp 55975C Outboard Motor

Evinrude Fuel Pump And Filter Parts for 1979 55hp 55975C Outboard Motor www.marineengine.com

evinrude pump

Johnson Motor Cover Parts For 1976 6hp 6R76A Outboard Motor

Johnson Motor Cover Parts for 1976 6hp 6R76A Outboard Motor www.marineengine.com

6hp evinrude

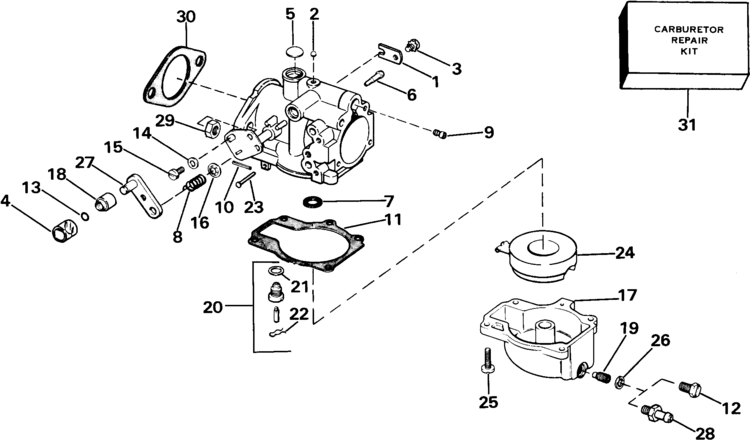
Carburetor Parts For 1985 40hp E40elcob Outboard Motor

carburetor Parts for 1985 40hp e40elcob Outboard Motor www.marineengine.com

outboard evinrude equivalent listed

REPAIR KIT 3 - 2004 Yamaha Outboard 40hp F40TLRC | Crowley Marine

REPAIR KIT 3 - 2004 Yamaha Outboard 40hp F40TLRC | Crowley Marine www.crowleymarine.com

yamaha outboard 2004 repair kit parts 40hp

15 Hp Evinrude Parts Diagram | My Wiring DIagram

15 Hp Evinrude Parts Diagram | My Wiring DIagram detoxicrecenze.com

diagram evinrude wiring hp johnson parts troubleshooting fuel maintaining motor starter electrical yamaha schematic outboard above larger thumbnails leeroysramblings trim

Johnson Water Pump Parts For 2002 40hp J40PL4SNF Outboard Motor

Johnson Water Pump Parts for 2002 40hp J40PL4SNF Outboard Motor www.marineengine.com

outboard evinrude 50hp marineengine

1948 3.3HP Evinrude Parts Diagram – Antique Outboard Motor Club,Inc

1948 3.3HP Evinrude Parts Diagram – Antique Outboard Motor Club,Inc www.aomci.org

evinrude parts diagram 3hp 1947 sportwin 1948 outboard motor

1963 Evinrude 3 HP Parts

1963 Evinrude 3 HP Parts thebrazilianconnection.com

parts evinrude

Outboard evinrude 50hp marineengine. 6hp evinrude. Evinrude fuel pump and filter parts for 1979 55hp 55975c outboard motor